Installing R-7182/R-7183 Bolt Down Bollards
Reliance Foundry’s bolt down bollards are easy to install and relocate for indoor and outdoor use. Made from 316-grade stainless steel, these bollards can withstand harsh weather conditions and corrosion. The internal mounting collar eliminates tripping hazards and obstruction in areas with regular foot traffic. A secure mounting collar with a drop-in anchor is secured to the bollard with button-head screws. It is important to note that with this installation method, the bollard will offer little impact resistance.
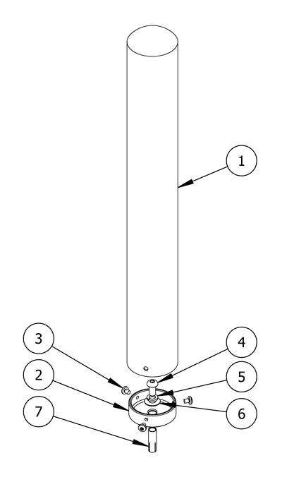
PARTS LIST
|
# |
PART |
QTY |
|---|---|---|
|
1 |
Bolt Down Bollard |
1 |
|
2 |
Bolt Down Bollard Anchor |
1 |
|
3 |
Torx Socket Button Head Cap Bolt |
3 |
|
4 |
1/2″ Hexagon Socket Button Head Cap Bolt |
1 |
|
5 |
1/2″ Stainless Steel Helical Spring Lock Washer |
1 |
|
6 |
1/2″ Stainless Steel Washer |
1 |
|
7 |
1/2″ Drop-in Concrete Insert |
1 |
INSTALLATION EQUIPMENT
|
Broom/Pressure Washer |
Chalk |
|
Level |
Measuring Tape |
|
Vacuum |
1/2″ Masonry Drill Bit |
|
1/2″ Insert Setting Tool (or equivalent) |
Special Hex Key |
|
5/16″ Hex Key |
Hammer |
NOTE
- To protect the finish, keep bollards in original packaging until the exact moment of installation.
- Handle with care to avoid scratching or damaging bollard surfaces as abrasions will lead to rust.
- Once scratched, bollards cannot be repaired to original form without re-finishing the entire surface.
Before installation
Check for hazards
Always check for hazards such as water pipes, gas lines, and underground wiring before drilling.
Clean the surface
Dirt and debris can affect the line of sight and disrupt placement of the bollards.
Use a broom or pressure washer to clean the concrete surface prior to bollard installation.
Study the site plans
Site plans are generally created by the architect of the project.
Refer to site plans to locate and mark the precise center point of each bollard.
For secure installation, ensure there is a minimum radius of solid concrete around each mark.
Drill the hole
Create pilot hole
Tap pilot divot holes in the center of each mark.
This will prevent the hammer drill or rotary hammer from drifting while boring the holes.
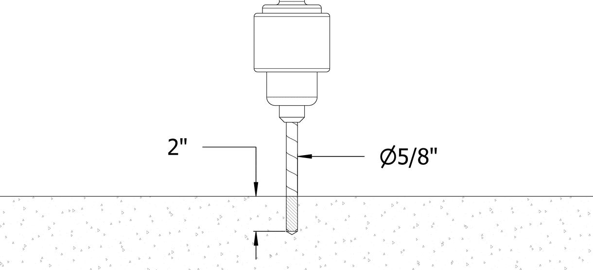
Set the depth control on the hammer drill (or rotary hammer) to 2″
If depth control is not available, mark 2″ on the masonry bit.
Drill the hole
Drill a hole that has a 5/8″ diameter and 2″ depth.
Drill on high speed, using the hammer function if available.
Check the masonry bit often to ensure it remains debris-free.
Secure the anchor
Clear the hole
Clear the hole of all debris and/or standing water using the vacuum.
Use a brush to remove any remaining loose particles.
Tap the drop-in insert into the hole
With the slotted end facing down, drive the drop-in insert (A) down until its top sits flush with the concrete surface.
Ensure that the top is perfectly level.
Set the concrete insert
Insert a setting tool (B) into the threaded hole, then hammer down.
If a proper setting tool is not available, an equivalent flat-end punch can be used.
This will cause the internal expansion plug to set the concrete insert in place.
Center the anchor
With the anchor’s open side facing up, center it over the concrete insert.
Secure the anchor
Place the stainless steel washer and the spring lock washer over the center hole of the anchor.
Insert the hex bolt and use a 5/16″ hex key to secure.
Secure the bollard
Place the bollard base near the anchor
Keep the bollard in its protective packaging. Carefully place the bollard base near the installation position.
When ready to install, remove the protective packaging.
Set the bollard over the anchor
Set the bollard base upright and maneuver it so the center lines up with the hole in the anchor.
Secure the bollard
Once in place, rotate the bollard until the three holes at the base line up with the three holes on the outside collar of the anchor.
Insert the torx bolt into each hole and fasten with a special torx key.
Inspect
Inspect the installation
From a distance, examine the plane of view.
Ensure the bollard is plumb to the surface, and the surface is flat.
Check the bollard for any signs of surface damage
Abrasions should be covered as soon as possible to prevent rust and ensure the proper life of the bollard. For damage repair or other servicing needs, please contact Reliance Foundry’s sales department.
Care and maintenance
Reliance Foundry manufactures its products to the highest design standards to ensure their durability. In most North American environments, routine inspections and cleaning will ensure that bollards retain their aesthetic appeal. Proper care and maintenance are required to maintain the finish and ensure a full service life.